Светлицкого 35

т.ф 044 2380308

отдел оборудования и диагностики 0956790000

Отдел проставок 0950810039

Отдел проставок 0950810039

ОБОРУДОВАНИЕ
ОБУЧЕНИЕ
РЕМОНТ И ОБНОВЛЕНИЕ
КОНТАКТЫ
ДОСТАВКА И ОПЛАТА
 
 

Диагностические сканеры для грузовиков

  • Грузовой автосервис
    • - Сканеры для грузовиков и спецтехники
    • - Подъёмники для грузовых автомобилей
    • - Оборудование для грузового шиномонтажа
    • - Грузовой стенд развал схождения
    • - Дымомеры
    Легковой автосервис
    • - Диагностические сканеры
    • - Все для автоэлектроники

      Man t200 Xentry Diagnosis VCI
      Scanmatik 2 pro
      VOLVO VOCOM 88890300
      Star Diagnosis SD connect 4 Iveco EASY (ELTRAC)
      DAF VCI 560 VOCOM 2
 
Мотортестер-осциллограф МОДИС М  

Комплектация базового комплекта автомобильного осциллографа МОДИС-М

Наименование

Количество

Примечание

Модуль осциллографа-генератора

1

 

Кабель USB A-B

1

L=3м

Кабель питания от АКБ автомобиля

1

L=1,5м

Адаптер питания ~220/12 B

1

 

Кабель экранированный универсальный

4

L=1.5 м

Зажим-иголка

2

 

Зажим-крокодил

4

 

Жгут вторичной цепи DIS 4

1

L=1,5м

Кабель вторичной цепи СОР

1

L=1,5м

Датчик тока 500 А

1

 

Кабель генератора

1

L=1,5 м

CD диск с программным обеспечением

1

 

Руководство по эксплуатации МОДИС

1

 

Руководство по эксплуатации ОСА М

1

 

Комплектность. Комплект "Максимум"

Дополнительно к базовому комплекту:


Наименование

Количество

Примечание

Модуль датчика давления

1

 

Комплект для измерения компрессии

1

 

Комплект для измерения давления топлива

1

 

Комплект для теста форсунок

1

 

Модуль датчика разряжения

1

 

Стойка универсальная УС12К

1

 

 

Датчики, входящие в комплект.

датчики

Жгуты датчиков вторичной цепи 1и 2 состоят из двух согласованных датчиков высокого напряжения . Каждый жгут предназначен для наблюдения сигналов определенной полярности - положительной или отрицательной и маркирован соответственно белым и черным цветом. При диагностировании автомобилей, оснащенных системой DIS, подключаются оба жгута, а при работе с системами, оборудованными распределителями вторичного напряжения - только датчик отрицательной полярности.
Модуль датчика синхронизации 3 включает в себя датчик, кабель и преобразователь сигнала, закрепленный на кабеле датчика. Датчик синхронизации (первого цилиндра - ДПЦ) - индуктивный. Датчик имеет усиленный ферритовый сердечник, на корпусе датчика нанесена маркировка для правильного расположения на высоковольтном проводе. Для правильной работы необходимо расположить датчик на высоковольтном проводе таким образом, чтобы нанесенная на нем стрелка была направлена к свече зажигания, если полярность высокого напряжения в проводе отрицательная, и от свечи - в противном случае.

Модуль датчика тока 4 предназначен для измерения силы тока до 500 А в цепях автомобиля и состоит из датчика, кабеля и преобразователя сигнала, установленного на кабеле. Датчик тока имеет стальной магнитопровод, в зазоре которого установлен электронный преобразователь Холла. Датчик имеет маркировку для правильного расположения его на токонесущем проводе. Преобразователь сигнала представляет собой электронное устройство, заключенное в пласмассовый корпус. В торце корпуса преобразователя расположен резистор для подстройки нуля датчика тока. Подстройка нуля датчика производится тонкой отверткой. Для подстройки необходимо снять датчик с токонесущего провода и замкнуть его сердечник.
Питание преобразователя сигнала датчика осуществляется от АКБ автомобиля или другого источника постоянного тока напряжением 12 В. Для подключения к источнику используется кабель с двумя большими зажимами черного и красного цвета
Кабель генератора 5 заканчивается двумя штырями красного и черного цвета для подключения к коммутатору форсунок, датчикам системы управления двигателем.
Кабель осциллографа 6 заканчивается двумя штырями красного и черного цвета для подключения к клеммам аккумуляторной батареи, первичной цепи, датчикам системы управления двигателем. В комплект к кабелю прилагаются также зажимы типа "крокодил" и прокалыватели.

кабели

В комплект также входят: >
·  кабель USB 1 предназначенный для подключения модуля осциллографа к ПК,
·  адаптер 2 для питания от сети 220 В переменного тока
·  кабель питания от АКБ 3(опционально, приобретается отдельно)</LI< ul>

Комплект для измерения давления
Внимание! В комлект для измерения давления, приведенный в прайс-листе входят только модуль датчика давления, комплект для измерения компрессии в цилиндрах двигателя и комплект для измерения давления в топливной системе. Остальные комплекты должны приобретаться отдельно.

модуль датчика давления

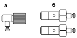
Модуль датчика давления (a) состоит из датчика, кабеля и преобразователя сигнала, установленного на кабеле. Тензометрический датчик имеет дроссельный клапан, для выпуска воздуха с целью повышения точности измерения.
В торце корпуса преобразователя сигнала расположен резистор для подстройки нуля датчика давления. Подстройка нуля датчика производится тонкой отверткой. Для подстройки необходимо разгрузить датчик.. Питание преобразователя сигнала датчика осуществляется от АКБ автомобиля или другого источника постоянного тока напряжением 12 В. Для подключения к источнику используется кабель с двумя большими зажимами черного и красного цвета.

В комплект для измерения компресии в цилиндрах двигателя входят:

  • штуцер М14х1,25 L=125 мм (в) и М14Х1,25 L=60 мм (д), для подключения к свечному отверстию цилиндров двигателя,
  • переходная футорка М14х1,25-М18х1,25 (г),
  • удлинитель штуцера компрессометра (б)
  • разрядник (е).

комплект

В комплект для измерения давления в топливной системе входят:

  • угольник 7/16” (а) (1 шт.) для подключения к топливной системе распределенного впрыска ВАЗ,
  • штуцера М12х1,5, М12х1,25 (б) для подключения к топливной системе ГАЗ.

комплект

В универсальный комплект для измерения давления в топливной системе входят:

  • шланг (а) (3шт.),
  • угольник М16х1,5 (б) и штуцер М16х1,5(в) для подключения к топливной системе центрального впрыска ВАЗ
  • тройник (г) (1 шт.),
  • хомут (д) (2шт.)
  • универсальный штуцер (е) (3шт.) для подключения к топливным системам автомобилей различных марок.

комплект

В комплект для измерения компрессии в цилиндрах Ford-Mercedes входят штуцер конический М14х1,25 L=125 мм и футорка коническая М14х1,25-М18х1,5

 

МОДИС М. Модульная диагностическая система на базе осциллографа-генератора

 

ПО МОДИС

Программа, реализующая функции компьютерного мотортестера, режимы измерения параметров первичной и вторичной цепи, осциллоскоп с синхронизацией по рабочему циклу двигателя, базы данных по автомобилям и клиентам и т.д.

Модуль осциллографа
ОСА М

Универсальный цифровой запоминающий осциллограф-генератор, приставка к персональному компьютеру. Высокое быстродействие. Комплект универсальных жгутов, прокалыватели, зажимы типа 'крокодил'

Кабель питания от АКБ

Питание модуля осциллографа-генератора от АКБ диагностируемого автомобиля.

Кабель генератора

Имитация сигналов датчиков ЭБУ, управление исполнительными устройствами.

Адаптер питания

Питание модуля осциллографа от сети ~ 220B.

Модуль датчика синхронизации

Синхронизация исследуемых сигналов с рабочим циклом двигателя

Жгут вторичной цепи DIS4

Диагностика автомобилей c системами зажигания DIS
(4 цилиндра).

Кабель вторичной цепи COP

Диагностика автомобилей c системами свеча-катушка.

Модуль датчика тока 500А

Измерение тока в цепях автомобиля.

МОДИС М. Базовый комплект

8500

 

Базовый комплект

Комплект для измерения давления

Коммутатор форсунок

Модуль датчика разрежения

Стойка универсальная УС12К

МОДИС М Комплект Максимум

13850

 

Базовый комплект

Комплект для измерения давления

Коммутатор форсунок

Модуль датчика разрежения

Сканер Сканматик

Стойка универсальная УС12К

МОДИС М Комплект Максимум-сканер

16350

МОДИС - Модульная диагностическая система

 

ПО МОДИС

Программа, реализующая функции компьютерного мотортестера, режимы измерения праметров первичной и вторичной цепи, осциллоскоп с синхронизацией по рабочему циклу двигателя, базы данных по автомобилям и клиентам и т.д.

Модуль осциллографа ОСА

Универсальный цифровой запоминающий осциллограф - приставка к персональному компьютеру. Комплект универсальных жгутов, прокалыватели, зажимы типа 'крокодил'

Модуль датчика синхронизации

Синхронизация исследуемых сигналов с рабочим циклом двигателя

Жгут вторичной цепи DIS4

Диагностика автомобилей c системами зажигания DIS
(4 цилиндра).

Модуль датчика тока 500А

Измерение тока в цепях автомобиля.

 

6950

Дополнительные опции

 

Стойка для размещения и хранения диагностического оборудования и инструмента с поворотным кронштейном - "рукой" для крепления модуля осциллографа.

Стойка универсальная УС 12K

3000

 

Стойка для размещения и хранения диагностического оборудования и инструмента без поворотного кронштейна.

Стойка универсальная УС 12

2950

 

Датчик давления с усилителем-преобразователем сигнала. Измерение давления до 20 бар в системах двигателя.

Модуль датчика давления

900

 

Модуль датчика давления

Измерение давления до 20 бар в системах двигателя.

Комплект для измерения компрессии в цилиндрах двигателя

Проверка абсолютной компрессии и фаз газораспределения. Анализ давления в цилиндре при стартерном пуске и на работающем двигателе.

Комплект для измерения давления в топливной системе

Диагностика гидравлической части систем впрыска топлива.

Комплект для измерения давления

1630

 

Синхронизация исследуемых сигналов с рабочим циклом двигателя

Датчик синхронизации (Первого цилиндра)

450

Диагностика автомобилей с системами зажигания DIS (8 цил.)

Жгут вторичной цепи DIS8

1700

Одновременное подключение к четырем высоковольтным проводам

Жгут вторичной цепи DIS4

950

Диагностика вторичной цепи систем свеча-катушка

Кабель датчика вторичной цепи СОР

230

Контроль частоты вращения и установочного угла опережения впрыска. Проверка работы регулятора оборотов, автоматической муфты опережения и электрооборудования. Диагностика состояния топливного насоса и форсунок по осциллограммам. Импортный датчик 6 mm.

Комплект для диагностирования дизельных двигателей

3550

Исследование пульсаций давления в системах двигателя.

Модуль датчика разрежения

530

Комплект из электронного коммутатора и кабелей для подключения форсунок. Предназначен для подключения выхода генератора-имитатора модуля ОСА М к форсункам бензиновых двигателей. Используется при проведения режима 'Тест форсунок'.

Коммутатор форсунок

620

Измерение токов до 50 А в цепях автомобиля.

Модуль датчика малых токов

620

Измерение токов до 500 А в цепях автомобиля.

Модуль датчика тока

620

 

Контроль угла опережения зажигания в бензиновых двигателях и угла опережения впрыска в дизельных.

Стробоскоп

1100

 

Подключение питания модуля осциллографа-генератора ОСА М от АКБ автомобиля. Обеспечивает максимальную мобильность осциллографа-генератора ОСА М и системы МОДИС М.

Кабель питания от АКБ

130

ОСА - Дооснащение осциллографа до диагностической системы МОДИС

 

Модуль синхронизации

Жгут вторичной цепи DIS

Модуль датчика тока 500 А

Код доступа к программному обеспечению МОДИС

Вариант 1

2600

 

Модуль датчика тока 500 А

Код доступа к программному обеспечению МОДИС

Вариант 2

1460

 

Код доступа к программному обеспечению МОДИС

Вариант 3

1260

Системная диагностика

Для одновременного подключения сканеров и газоанализатора к комплексу 'Автомастер АМ1-М'

Коммутатор портов

790

Диагностические разъемы (*минимальная сумма заказа на разъемы 1200 рублей)

Состоит из корпуса, двух крышек и хвостовика. В разъем устанавливаются контакты A,B,M,G,H. Для диагностики автомобилей ВАЗ с 12-контактным диагностическим разъемом.

Диагностический разъем ВАЗ

50

Конструкция аналогична разъему ВАЗ. В разъем устанавливаются контакты 2,4,5,7,9,10,15, 16. По заказу может поставляться с 16 контактами. Для автомобилей различных производителей с 16 контактным диагностическим разъемом, в т.ч. ВАЗ с нормами Euro-3 и Шевроле-Нива.

Диагностический разъем OBD-2

100

Конструкция аналогична разъему ВАЗ. В разъем устанавливаются контакты A,B,F. Для автомобилей с 10-контактным разъемом до 1995 г. выпуска (Kadett, Vectra A, Omega A, Astra F и др.).

Диагностический разъем Opel

70

3-контактный и 5-контактный (установлены 3 контакта). Состоят из корпуса и хвостовика. Для автомобилей с оригинальными разъемами Ford.

Диагностические разъемы Ford

40

Конструкция аналогична разъемам Ford. Предназначены для подключения к разъему питания и линий диагностики K-L-Line автомобилей группы VAG до 1995 г. выпуска.

Диагностические разъемы VAG

40

Состоит из корпуса, крышки и хвостовика. В разъем устанавливаются контакты 2,11,12. Для автомобилей ГАЗ с 12-контактным диагностическим разъемом.

Диагностические разъемы ГАЗ

40

Состоят из корпуса, изготовленного из стеклонаполненного полиамида, ручки с разъемом и металлической иглы. Предназначены для подключения к электропроводке автомобиля.

Прокалыватели

60

 

  

Вернуться назад в Оборудование для СТО




Вы можете купить Modis по низкой цене и заказать доставку на дом или в офис на выгодных условиях у нас. Продажа Modis в каталоге с описаниями возможностей, и подробными техническими характеристиками. Фотографии и отзывы пользователей помогут вам определиться с покупкой Modis.

 
 
 
 
 
Международный центр автодиагностики Украина 2007-2017 Международный центр автодиагностики - Киев